Land Rover patenteia sistema central de gestão de ar nos pneus
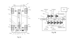
A Land Rover patenteou um sistema pneumático central de inflação, capaz de acomodar diferentes modos de condução através do ajuste da pressão dos pneus – dependendo das condições da estrada.
É certo que os sistemas de inflação dos pneus não são novos nem revolucionários – são usados em aplicações militares, de transporte ou em competições off-road -, mas o que a patente da Land Rover tem de revolucionário é a sua componente automática central já que é capaz, dependo das condições, de acomodar diferentes modos de condução através do ajuste da pressão dos pneus.
Este sistema de enchimento de pneus central altamente tecnológico permite assim encher ou esvaziar os pneus consoante as condições da via de circulação – tanto automaticamente como através da seleção manual por parte do condutor. Com base nas imagens registadas no Departamento de Patentes e Marcas dos Estados Unidos (imagens abaixo), existem três modos diferentes: Económico, Off-road e Recuperação, cada um com diferentes níveis de pressão associada.
Luís M. Mota





0 comentários